个人住房贷款利率仅2.75%?什么是LPR,具体一年还多少利息呢?购房者自己能不能简单算明白了?

大部分人购房还是需要办理分期按揭,这时候会遇见几个问题就是经常听到说,现在申请按揭利率上浮10%,我买房时候利率打折了,那么购房这个上浮下调是不是有个标准呢?
真有标准,下面让老管给大家讲一讲。银行机构是可以适当的上下调动借款利率的,根据标准就是房贷基准利率。房贷基准利率是以中国人民银行对国家专业银行和其他金融机构规定的存贷款利率为基准利率。
我国的基准利率调整时间:2015年10月24日。
各项贷款(单位:%)
六个月以内(含六个月)4.35
六个月至一年(含一年)4.35
一至三年(含三年)4.75
三至五年(含五年)4.75
五年以上4.90

个人住房公积金贷款(单位:%)
五年以下(含五年)2.75
五年以上3.25
2020年8月12日,工行、建行、农行、中行和邮储五家国有大行同时发布公告,于8月25日起对批量转换范围内的个人住房贷款,按照相关规则统一调整为LPR(贷款市场报价利率),公告同时明确,批量转换完成后,若对转换结果有异议,可于2020年12月31日(含)前通过相关渠道自助转回或与贷款经办行协商处理。定价方式其实道理很简单,当前我国的房贷利率组成是LPR+各银行上浮基点的方式计算的。
中国工商银行、中国农业银行、中国银行、中国建设银行、交通银行、中信银行、招商银行、兴业银行、浦东发展银行、中国民生银行、西安银行、台州银行、上海农村商业银行、广东顺德农村商业银行、渣打银行(中国)、花旗银行(中国)、微众银行、网商银行为最新的贷款市场报价利率(LPR)报价行。
LPR利率为:
2022年3月21日贷款市场报价利率(LPR)为:1年期LPR为3.7%,5年期以上LPR为4.6%。
但目前青岛市范围内,首套房的主流银行房贷利率仍为5.3%左右。不管是之前的基准利率还是现在实行的LPR利率,我们都要知道,这是指的年利率而非月利率。也就是说,5.3%的年利率,10万本金一年利息就是5300元。
但是除了银行办理房贷之外,我国还有公积金贷款。这个公积金就是指在本市范围内购买具有产权的自住住房,有完全民事行为能力、按规定在本市正常缴存住房公积金的在职职工。
公积金可以用于新房也可用于二手房按揭贷款,公积金利率目前五年以下(含五年)
2.75%,也就是说10万本金一年利息是2750元。非常便宜。
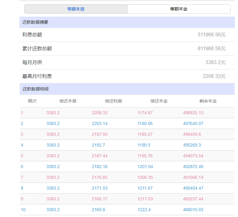
最后我们举例计算一下办理房贷50万,借款周期20年(一个月为一期)240期,利率5.3%,20年后总共还多少。

贷款50万本息240期计算

还20年总利息是31万2左右
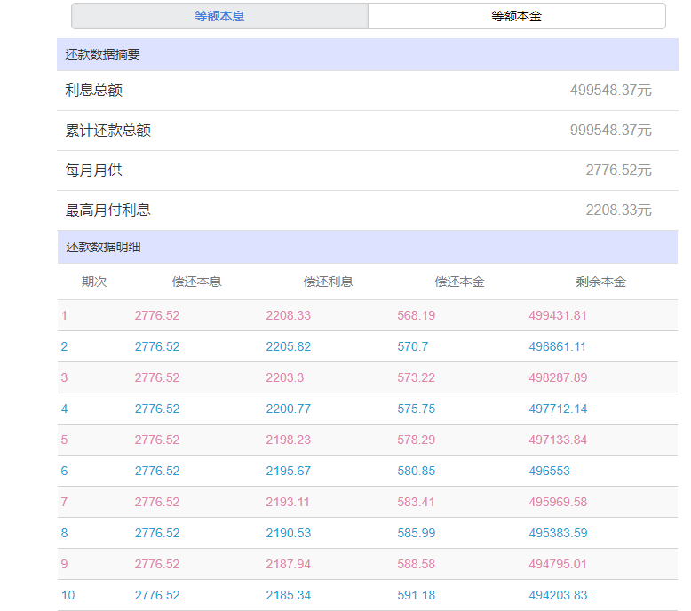
上面计算的还款周期20年是31.2万左右的纯总利息,那么如果为了减轻压力,还款周期延长到30年360期呢?

房贷50万360期总利息是近50万,翻一番
是的,如果是同样借款50万房贷,还360期后,支付的利息总额是499548.37元。几乎翻一番。
但我们不要忽视这30年的社会发展,通货膨胀,未来不可预期,但可以回想30年前我们的收入与购买力,其实我们30年一直住的房子,房子也在增值,收入在增加,每个月这样两三千的本息慢慢还,这利息也就没有那么可怕了。
投资何必去远方,莱西就是好地方,大家评论区见!



